Введение
На сегодняшний день аденотомия остается наиболее распространенным хирургическим вмешательством в детской ЛОР-практике [1]. Усовершенствование аденотомии зависит от знания возрастной анатомической изменчивости положения глоточной миндалины в оперируемой области, необходимого для разработки менее травматического способа хирургического удаления лимфоидной ткани носоглотки в различные периоды детского возраста [2–4]. Лимфоидная ткань может по-разному располагаться в носоглотке, что может приводить к осложнениям со стороны среднего уха, околоносовых пазух [5–7]. Е.В.Шишмаревой (2005) при эндоскопическом исследовании свода глотки описаны несколько форм глоточной миндалины: столбовидная – лимфоидная ткань с широким основанием вертикально спускается в ее просвет в виде столба; шарообразная – лимфоидная ткань с широким основанием растет во всех направлениях; грибовидная – от миндалины в своде отходит узкая ножка, которая шарообразно разрастается во всех направлениях; веерообразная – лимфоидная ткань распространяется в форме веера во фронтальной плоскости; волнообразная – лимфаденоидная ткань образует волну на задней стенке глотки, где дополнительно фиксируется или принимает вид «холма» – спускаясь в носоглотку, плавно сходя «на нет» [8, 9]. Тогда как Ф.А. Абиловой (2016) радиологическое исследование носоглотки позволило определить 3 формы аденоидных вегетаций: первая – лимфоидная ткань находится ближе к хоанам от срединной линии, вторая – в своде носоглотки, третья – на задней стенке носоглотки [10]. Наличие осложнений, сопряженных с гипертрофией глоточной миндалины и хроническим аденоидитом, является показанием для аденотомии [11–13]. Анализ литературных данных позволяет говорить о разнообразных и противоречивых формах разрастания лимфоидной ткани и ее анатомическом расположении в своде носоглотки у взрослых, но они недостаточно полно, без учета возрастной изменчивости, описаны у детей, что отражается на клиническом проявлении заболевания, прогнозе послеоперационного течения и возможных осложнений [14–16].
Цель исследования – определить формы носоглотки и глоточной миндалины у детей различного возраста по данным морфометрии для разработки тактики хирургического лечения гипертрофии глоточной миндалины.
Материал и методы исследования
Проведен ретроспективный анализ 425 компьютерных томограмм (КТ) головы детей и юношей в возрасте от 1 до 21 года обоего пола без патологии полости носа и околоносовых пазух, выполненных по разным показаниям в отделении лучевой диагностики и лучевой терапии многопрофильной Университетской клинической больницы №1 имени С.Р. Миротворцева г. Саратова. КТ выполнены на 4-срезовом компьютерном томографе«Asteion-S4» фирмы «Toshiba» с толщиной срезов 0,5–1,0 мм. Материал разделен по полу и шести возрастным группам, согласно возрастной периодизации, принятой на VII Всесоюзном съезде анатомов, гистологов и эмбриологов (1965): I период – грудной возраст (1–1,5 года), II период – раннее детство (2–3 года), III период – первое детство (4–7 лет), IV период – второе детство (8–12 лет); V период – подростковый возраст (13–16 лет); VI период – юношеский возраст (17–21 год) [17].
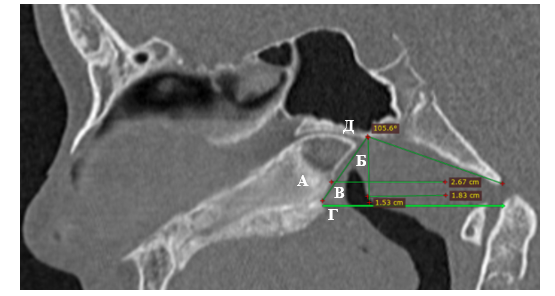
Для определения формы носоглотки использовалось соотношение линейных параметров (длина, ширина, высота) и угла положения свода глотки относительно основания черепа. Длина носоглотки – расстояние от заднего края сошника до задней стенки глотки в сагиттальной проекции; ее ширина – расстояние между наиболее латеральными точками хоан в аксиальной проекции; ее высота – вертикальная линия от основания черепа, перпендикулярная к проекционной линии твердого неба и верхнего края дуги атланта в сагиттальной проекции; угол положения свода глотки относительно основания черепа – между проекционными линиями, проходящими через наружную поверхность ската затылочной кости и задний край сошника в сагиттальной проекции (рис.1, 2).

Рис.1. Линейные параметры носоглотки и глоточной миндалины на КТ головы девочки 13 лет в сагиттальной проекции: А – длина носоглотки; Б – высота носоглотки и высота глоточной миндалины в данном случае совпадают; В – длина глоточной миндалины; Г – проекционная линия; Д – угол положения свода глотки.
Примечание: составлен авторами по результатам данного исследования

Рис.2. Линейные параметры ширины носоглотки на КТ головы того же ребенка в аксиальной проекции.
Примечание: составлен авторами по результатам данного исследования
Для определения формы глоточной миндалины использовалось соотношение линейных параметров – ее длины и высоты. Длина глоточной миндалины – расстояние от передней точки миндалины до задней стенки глотки; ее высота – расстояние от основания черепа до нижней точки миндалины в сагиттальной проекции (рис.1).
На основании полученных с помощью КТ размеров носоглотки и глоточной миндалины выделены их формы – 4 формы носоглотки и 3 формы глоточной миндалины. Формы носоглотки: форма 1 – соотношение ширины к высоте составляет 1,5, длины к высоте – 2,0, угол носоглотки в среднем составляет 123,2º. При форме 2 соотношение ширины к высоте составляет 1,2, длины к высоте – 1,6, угол носоглотки в среднем составляет 116,1º. Форма 3 характеризуется соотношениями ширины к высоте – 1,2, длины к высоте – 1,4, угол носоглотки в среднем составляет 102º. При форме 4 соотношение ширины к высоте составляет 1,5, длины к высоте – 1,6, угол носоглотки – 113,6º. Формы глоточной миндалины: 1 (округлая) характеризуется отношением длины миндалины к ее высоте – 1,2; 2 (овальная) – 1,8 и 3 (каплевидная) – 3,1 (рис.3).

Рис.3. Модель форм глоточной миндалины на основе данных КТ в программе «Autodesk 2019»: А – округлая форма, Б – овальная форма, В – каплевидная форма. Примечание: составлен авторами по результатам данного исследования
Также оценивалась степень гипертрофии миндалины (I, II, III) по общепринятой классификации А.Г. Лихачева (1967): I степень – ткань глоточной миндалины закрывает сошник на 1/3, II степень – ткань глоточной миндалины закрывает сошник на 1/2, III степень – ткань глоточной миндалины закрывает сошник на 2/3 или полностью просвет носоглотки.
Полученные данные обрабатывали с использованием пакета прикладных программ «STATISTICA 12.0», построение 3D-моделей в программе «Autodesk 2019». В начале обработки материала проверка распределений полученных данных осуществлялась с помощью критериев Шапиро – Уилка и Колмогорова – Смирнова, которые не отличались от нормального. Различия значений параметров считали достоверными при 95% пороге вероятности (р < 0,05).
Протокол исследования одобрен на заседании этического комитета ФГБОУ ВО «Саратовский ГМУ им. В.И. Разумовского» Минздрава России, протокол №3 от 10.11.2020.
Результаты исследования и их обсуждение
Получены средние значения линейных параметров носоглотки и глоточной миндалины (таблица).
Средние значения линейных и угловых параметров носоглотки и глоточной миндалины у детей в возрасте 1–21 года (мм, ⁰)
|
Возраст, годы |
Пол |
Средние значения параметров (M ± m), мм |
Угол носоглотки (⁰) |
||||
|
Высота носоглотки |
Длина носоглотки |
Ширина носоглотки |
Высота глоточной миндалины |
Длина глоточной миндалины |
|||
|
1–1,5 |
М |
13,6±0,2 |
25,9±0,4 |
17,5±0,4 |
9,6±0,5 |
21,0±0,2 |
117,1±1,4 |
|
Ж |
13,8±0,3 |
25,1±0,3 |
16,0±0,3 |
11,3±0,6 |
21,3±0,2 |
112,5±1,7 |
|
|
2–3 |
М |
14,9±0,3 |
26,4±0,4 |
19,2±0,3 |
14,8±0,7 |
21,1±0,3 |
118,9±0,9 |
|
Ж |
14,1±0,3 |
26,1±0,6 |
18,1±0,3 |
9,6±1,0 |
17,4±1,3 |
118,4±1,1 |
|
|
4–7 |
М |
16,7±0,4 |
27,3±0,3 |
22,9±0,3 |
13,3±0,9 |
19,1±1,0 |
116,3±1,0 |
|
Ж |
15,1±0,2 |
28,2±0,6 |
22,6±0,2 |
14,5±0,4 |
21,9±0,2 |
115,5±0,9 |
|
|
8–12 |
М |
18,1±0,3 |
27,9±0,5 |
24,3±0,3 |
12,3±1,0 |
17,6±1,3 |
110,1±1,4 |
|
Ж |
17,2±0,4 |
28,6±0,4 |
25,3±0,4 |
15,4±1,0 |
22,2±1,0 |
115,6±1,8 |
|
|
13–16 |
М |
19,2±0,3 |
28,6±0,8 |
26,2±0,5 |
13,6±1,1 |
18,2±1,3 |
112,1±1,2 |
|
Ж |
17,4±0,4 |
27,6±0,5 |
24,2±0,4 |
10,4±1,5 |
13,0±1,7 |
114,7±1,8 |
|
|
17–21 |
М |
18,8±0,4 |
28,8±0,5 |
25,7±0,4 |
6,0±1,2 |
7,5±1,5 |
115,1±1,3 |
|
Ж |
18,9±0,4 |
27,7±0,5 |
25,9±0,3 |
6,3±1,4 |
8,4±1,8 |
114,4±0,8 |
|
Примечание: составлена авторами на основе полученных данных в ходе исследования
На основе полученных данных определены формы носоглотки и глоточной миндалины. При форме 1 носоглотка широкая, длинная (глубокая), относительно невысокая, свод имеет выраженный купол, расположенный под тупым углом. При форме 2 преобладает длиннотный размер (глубина) носоглотки, высота и ширина почти одинаковы, угол свода менее тупой, чем при форме 1. При форме 3 несколько преобладает длина, линейные параметры носоглотки почти равны, угол свода ближе к прямому углу. При форме 4 носоглотка широкая, менее глубокая, относительно невысокая, свод имеет менее тупой угол, чем при формах 1 и 2.
Также оценивалась степень гипертрофии глоточной миндалины. В 1–1,5 года глоточная миндалина визуализируется на всех КТ-граммах (100%), в половине случаев III степени гипертрофии (52,9%), реже встречается II степень (39,7%) и редко I степень ее гипертрофии (7,4%). В 2–3 года также преобладает III степень гипертрофии глоточной миндалины (68,2%), намного реже – II степень (18,2%), редко – I степень (7,6%) и в четырех случаях (6,1%) миндалина в носоглотке отсутствовала. В 4–7 лет преобладает III степень гипертрофии – это две трети случаев (77,2%), намного реже встречается II степень (19,0%), в единичных случаях миндалина отсутствует (3,8%), и следует отметить, что I степень гипертрофии глоточной миндалины в данной возрастной группе не встретилась (0). В 8–12 лет III степень гипертрофии превалирует (63,2%) по сравнению со II степенью (22,1%), I степень встречается в единичных случаях (4,4%), и уже в большем проценте случаев (10,3%) глоточная миндалина отсутствует. В 13–16 лет глоточная миндалина достаточно часто выявляется у детей, при этом преобладает III степень ее гипертрофии (40,6%), в трети случаев встречается II степень (27,5%), редко – I степень (10,1%), и в 21,7% случаев миндалина отсутствует. К возрасту 17–21 года в большинстве случаев носоглоточная миндалина уже подверглась обратной инволюции и в 58,7% случаев не выявляется при обследовании, но при ее наличии преобладает II степень гипертрофии (21,3%) или даже III степень (17,3%), I степень выявляется в единичных случаях (2,7%).
Из сочетанных форм в грудном возрасте чаще встречается форма 2 носоглотки с формой 3 миндалины (27,9%) и форма 1 носоглотки с формой 2 глоточной миндалины (22,1%). В 2−3 года одинаково часто преобладают форма 2 носоглотки с формой 2 миндалины и форма 1 носоглотки с формой 2 миндалины (22,7%). В 4−7 лет –форма 1 носоглотки с формой 2 миндалины (21,5%) и форма 4 с формой 1 миндалины (17,7%); 8−12 лет –форма 4 с формой 2 миндалины (17,6%), и одинаково часто форма 2 с формой 1 миндалины и форма 3 с формой 1 (16,2%); 13−16 лет − форма 3 носоглотки с формой 1 миндалины (20,3%) и форма 2 с формой 1 (17,4%). В юношеском возрасте преобладает форма 2 носоглотки (37,3%), и в более половины случаев глоточная миндалина уже не обнаруживается (58,7%), из сочетанных форм преобладает форма 2 носоглотки с формой 1 миндалины (17,3%).
Выводы
Результаты проведенного исследования дают возможность выделить не только формы миндалины и ее положение в своде носоглотки у детей, но и предложить определенный инструментарий и оперативные методы аденотомии. Так при формах 1 и 3 носоглотки слишком тупой и почти прямой угол свода создают трудности для удаления ткани глоточной миндалины традиционным аденотомом Бекмана, что приводит к необходимости использования дополнительных инструментов для ее удаления – шейвера с изогнутой на 65⁰ насадкой, радиоволновой или лазерной вапоризации или деструкции.
Наиболее оптимальными формами для аденотомии являются формы 2 и 4 носоглотки, анатомическое строение которых позволяет провести удаление лимфоидной ткани глоточной миндалины без применения дополнительного инструментария.
В 1–1,5 года наиболее часто встречается сочетание формы 2 носоглотки с формой 3 глоточной миндалины, 2–3 года –форм 1 и 2 носоглотки с формой 2 миндалины, 4–7 лет –формы 1 с формой 2, 8–12 лет –формы 4 с формой 2, 13–16 лет –формы 3 с формой 1, а в 17–21 год – формы 2 носоглотки с формой 1 миндалины.
При округлой форме ткань глоточной миндалины заполняет весь свод носоглотки, нет воздушного просвета между сошником и задней стенкой глотки, частично или полностью закрывает трубные валики и глоточные отверстия слуховых труб, что часто нарушает функции слуховой трубы и аэрацию среднего уха. При такой форме возможно пролабирование лимфоидной ткани через хоаны в задние отделы полости носа, что создает дополнительные трудности для хирургического вмешательства и неполного удаления ткани миндалины.
При овальной форме ткань миндалины равномерно спускается в просвете носоглотки от широкого основания в своде, есть воздушный просвет между сошником и задней стенкой глотки, может прилежать к трубным валикам без нарушения функции слуховых труб и, соответственно, среднего уха.
При каплевидной форме основная масса глоточной миндалины располагается в области свода носоглотки и, суживаясь, спускается вниз вдоль задней стенки, может «легко» касаться трубных валиков, имеется хороший воздушный просвет между сошником и задней стенкой глотки. Особенность такого расположения обеспечивает хороший обзор носоглотки и при задней риноскопии.
В грудном возрасте глоточная миндалина обнаружена у всех детей в 100% случаев, с 2–3 лет может отсутствовать в единичных случаях, с возрастом частота ее отсутствия постепенно повышается, и в юношеском возрасте более чем у половины пациентов она не обнаруживается в носоглотке при обследовании (58,7%).
Заключение
При планировании эндоскопической аденотомии необходимо учитывать изменчивость у детей форм носоглотки и глоточной миндалины для оптимального выбора оперативного доступа и качества проводимых хирургических вмешательств.
Конфликт интересов
Библиографическая ссылка
Маркеева М.В., Алешкина О.Ю., Тарасова Н.В. КЛИНИЧЕСКОЕ ЗНАЧЕНИЕ ФОРМ НОСОГЛОТКИ И ГЛОТОЧНОЙ МИНДАЛИНЫ // Современные проблемы науки и образования. 2026. № 1. ;URL: https://science-education.ru/ru/article/view?id=34458 (дата обращения: 15.03.2026).
DOI: https://doi.org/10.17513/spno.34458



